Menu

Movilidad

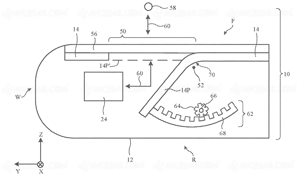
iPhone con pantalla retráctil para ocultar la muesca

Apple está explorando todas las ideas posibles para maximizar la tasa de ocupación de la pantalla en la parte frontal del iPhone.

Algunos dispositivos Android ya están comenzando a integrar el sensor selfie debajo de la pantalla, una tecnología que aún es joven y perfectible, pero que permite una pantalla completamente impecable. Por su parte, Apple también está intentando conseguir el mismo resultado, pero la cantidad de sensores que utiliza su sistema TrueDepth dificulta la tarea. Por lo tanto, la empresa está explorando todas las opciones posibles.

Pantalla de iPhone enrollable

Una patente presentada en mayo de 2020 por Apple y publicada recientemente describe un método para ocultar la famosa muesca necesaria para acomodar los sensores del módulo selfie. En resumen, la pantalla se puede enrollar para extenderse sobre una porción corta, lo suficientemente larga (unos pocos milímetros) para ocultar la muesca.

¿Solución alternativa?

Los sensores frontales solo se revelan cuando se necesitan. Una solución bastante elegante que podría ver la luz en los próximos años si Apple no logra alcanzar un nivel de calidad suficiente con sensores ocultos debajo de la pantalla. Fuente: Patently Apple

image